广东一家破产电器厂2.6亿多的货款等应收款拍卖,最终以50万成交
广东正野电器有限公司,估计有不少人家里装修的时候,会买个这个电器公司生产的产品,尤其是厨房、卫生间等安装的排风设备。没有错,广东正野电器有限公司就是一家专业从事通风、换气电器设备研制、生产及销售的公司。公司总部在广东佛山顺德。

不过,现在这个在通风电器比较有名气的公司也是破产了,其各种资产也是被拍卖了,包括厂房在内。其中厂房在去年5月份以约5060万元成功拍卖出去。

而对于一个生产电器的企业来说,各种经销商拖欠其各种货款也是正常不过的事情,甚至直到公司破产了,还有很多货款没有拿到手。这不,近日,广东正野电器有限公司各种应收的货款就被拍卖了,最终经过多次降价后,终于拍卖出去了。
近日,广东正野电器有限公司应收款拍卖迎来第二次拍卖,起拍价14.6371万元。这次拍卖的应收款,有很多是各大经销商拖欠广东正野电器有限公司的货款,一共是有392个公司和个人欠钱,其中拖欠货款的共376个,其他欠的钱是单位往来和其他款项,总共是2.613769亿元,这个钱可不是小数目了,很多小企业可能一辈子都赚不了这么多钱。如果当初这些钱能及时全部要回,估计这个公司也不至于走向破产了。

部分应收款
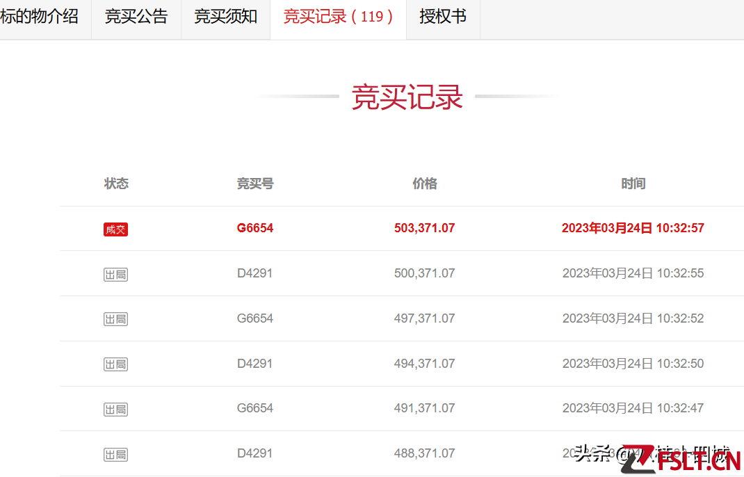
而这次拍卖,最终是吸引了4人报名竞拍,竞争非常激烈,经历了119次的加价才结束拍卖,最后以50.3371万元成交价,成交价比起拍价高出了35.7万元。


这次拍卖的应收款,最高欠钱的已经企业,欠了六千多万,也有不少几百万的,如果这次竞得者能要回其中一个,那就是赚大发了,但是现在钱哪有那么容易要回来呢?大家觉得最后能要回多少钱呢?





